애플, '위성 연결 기능 향상' 특수 케이스 특허 공개…클램셸 디자인 적용

2026.02.23 14:39:50

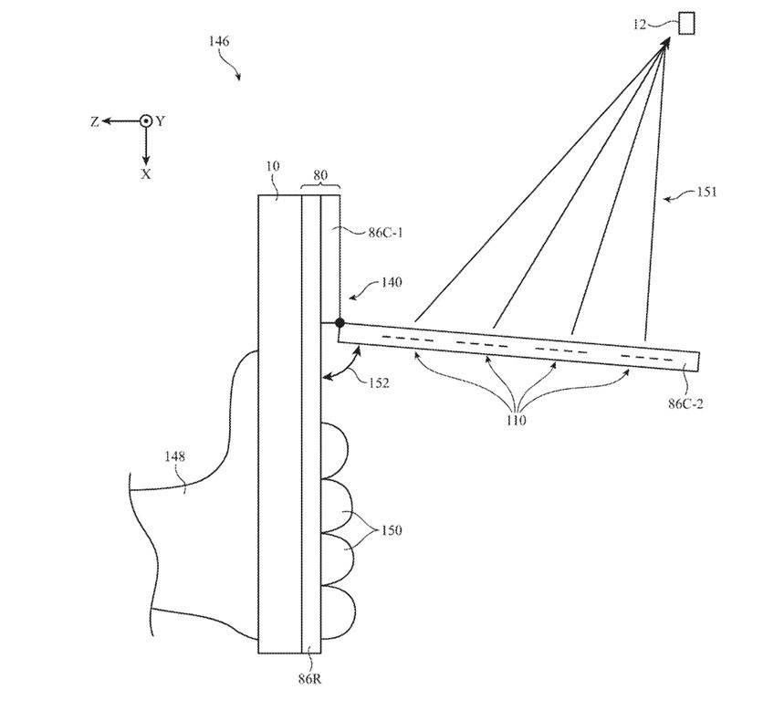
USPTO, 애플 특허 공개…케이스에 위상 배열 안테나 탑재

 

[더구루=홍성일 기자] 애플이 아이폰, 아이패드에서 위성 인터넷 서비스를 안정적으로 사용할 수 있게 만드는 안테나 케이스 기술을 개발했다. 애플이 위성 안테나 케이스를 출시하면 별도 업그레이드 없이도 아이폰, 아이패드를 지상 통신망 밖에서 사용할 수 있게 될 것으로 전망된다.

해당 콘텐츠는 유료 서비스입니다.

  • 기사 전체 보기는 유료 서비스를 이용해주시기 바랍니다. (vat별도)
  • 해당 콘텐츠는 구독자 공개 콘텐츠로 무단 캡처 및 불법 공유시 법적 제재를 받을 수 있습니다.

홍성일 기자 hong62@theguru.co.kr
Copyright © 2019 THE GURU. All rights reserved.











발행소: 서울시 영등포구 여의나루로 81 한마루빌딩 4층 | 등록번호 : 서울 아 05006 | 등록일 : 2018-03-06 | 발행일 : 2018-03-06 대표전화 : 02-6094-1236 | 팩스 : 02-6094-1237 | 제호 : 더구루(THE GURU) | 발행인·편집인 : 윤정남 THE GURU 모든 콘텐츠(영상·기사·사진)는 저작권법의 보호를 받은바, 무단 전재와 복사, 배포 등을 금합니다. Copyright © 2019 THE GURU. All rights reserved. mail to theaclip@theguru.co.kr